Home / News / Nintendo Patents Character Summoning Mechanics, Despite it Existing in Numerous Games

Nintendo Patents Character Summoning Mechanics, Despite it Existing in Numerous Games

Nintendo has been granted a patent by the United States Patent and Trademark Office (USPTO) that protects a core gameplay mechanic—allowing an in-game character to summon a “sub-character” to assist in battle.

Filed in March 2023 and granted on September 2, 2025, the Patent No. 12,403,397 was approved without objection, despite the mechanic already being present in numerous past titles, both from Nintendo and other publishers.

What the Patents Cover

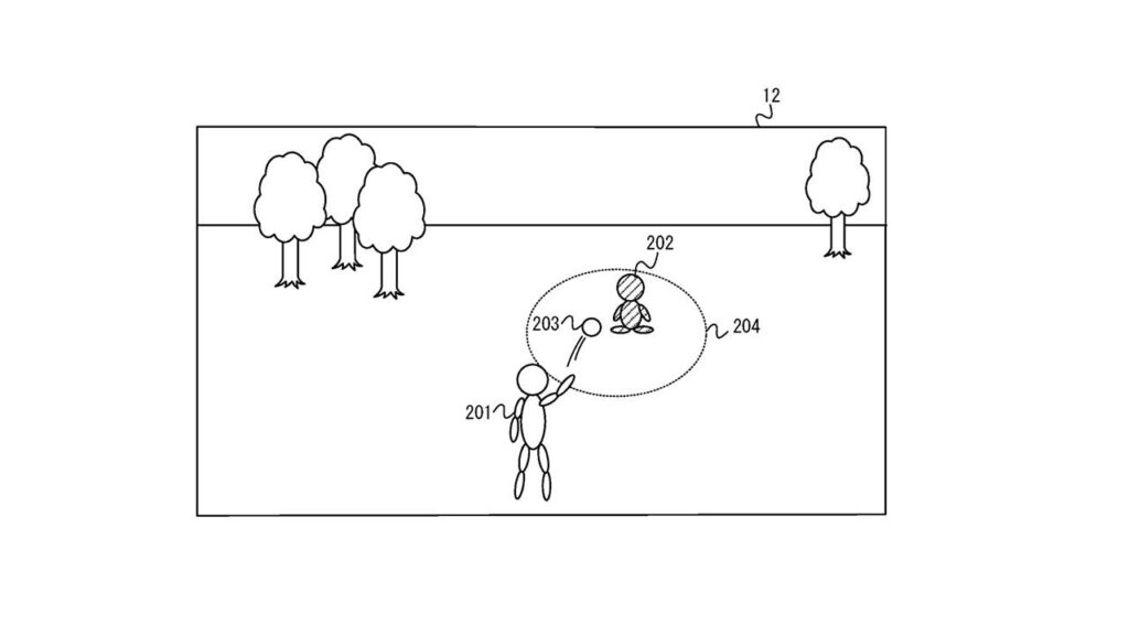
The newly issued Patent ‘397 describes (in technical terms) a battle system where players throw a ball to capture and deploy characters—a core mechanic instantly recognizable to Pokémon fans worldwide. Illustrations in the patent filing further reinforce its connection to the franchise’s iconic gameplay loop.

Meanwhile, Patent ‘387 protects mechanics related to switching control between characters or riding them smoothly, another gameplay element central to Pokémon titles.

How the Patent Works

The patent outlines a sequence of steps for the mechanic, including:

  • A game stored on a PC, console, or other device.
  • A player character moving through a virtual space.
  • The ability to summon a sub-character—such as a monster or companion—to fight.
  • Two branching scenarios:
    1. Summoning the sub-character directly where another character exists, triggering a fight.
    2. Summoning it in an empty space, where it later encounters an opponent.
  • Sending the sub-character forward, automatically initiating a battle with an enemy.

This mirrors mechanics familiar to Pokémon players and other monster-collecting RPG fans.

Industry Impact and Ramifications

According to Games Fray, the approval could have far-reaching consequences for developers who already use similar summoning mechanics. Games across genres, from RPGs to action titles, may now risk infringing on Nintendo’s intellectual property.

The report warns:

“The ‘397 patent poses a fundamental threat to creativity and innovation in the games industry. That question is not specific to Palworld, but to a large number of games that already have that mechanic as well as future releases that will have it.”

This development may push other studios to file patents for their own common gameplay systems, potentially fragmenting the industry and stifling creative freedom.

Broader Legal Context

This patent win comes just one day after news broke that Nintendo secured a $2 million judgment and injunction against a modder accused of distributing circumvention devices.

Combined, these moves show Nintendo tightening its grip on both hardware and software protections, reinforcing its reputation as one of the most aggressive defenders of intellectual property in gaming.

Related Articles